Экспертиза электробытовой техники проводится для определения причин и характера возникновения дефектов (производственный или эксплуатационный) электробытовой техники (смартфонов, телевизоров, холодильников, посудомомечных и стиральных машин, водонагревателей и др.); установления соответствия сопроводительной (договор, накладная) и нормативно-технической (ГОСТ) документации и др. Исследование промышленных непродовольственных товаров (мебель, одежда, обувь, посуда и др.) проводится в рамках товароведческой экспертизы.
Содержание страницы:
Предмет судебной экспертизы электробытовой техники
В общем виде предметом СЭЭТ являются факты и обстоятельства, которые устанавливаются на основе изучения закономерностей разработки и эксплуатации электробытовой техники, связанные с необходимостью установления истины по уголовным, гражданским делам, делам об административных правонарушениях и пр.
Исследование проводится и в целях установления причинно-следственных связей между нарушением инструкций эксплуатации объектов СЭЭТ, технологии и (или) процесса их изготовления и (или) выполнения работ с их применением и возникновения негативных последствий.
Фактические данные при проведении исследования устанавливаются на основе специальных познаний эксперта в областях, сопряженных с производством, эксплуатацией электробытовой техники или возникновения аварийных ситуаций при использовании электробытовой техники, а именно: выявление техногенного воздействия и (или) вреда здоровью при эксплуатации объектов СЭЭТ, установление причин, влияющих на снижение качества (изменение технических характеристик) объектов СЭЭТ, установление соответствия (несоответствия) свойств исследуемых объектов стандартным и эталонным требованиям, изложенным в договорах, контрактах, а также данным, зафиксированным на ярлыках, шильдиках, стикерах, в товаросопроводительной документации, установление соответствия (несоответствия) условий эксплуатации изделий требованиям ТУ, ГОСТам и (или) эксплуатационной документации, определение технических характеристик исследуемых элементов объектов СЭЭТ, установление работоспособности объектов СЭЭТ, выявление причин технологических неисправностей, элементного брака, неисправностей, вызванных неправильной эксплуатацией, установление соответствия правилам ТБ, ПБ, электробезопасности, установление внесенных изменений, переделок в узлах и деталях объектов СЭЭТ и их влияния на характеристики объекта и т.д.
Задачи, решаемые экспертом при производстве исследования объектов судебной экспертизы электробытовой техники (цели исследования)
Определение предмета конкретного вида экспертного исследования тесно связано с определением решаемых задач. Обычно под задачей понимают цель, которая ставится исследователем и которая достигается при соблюдении определенных условий. Под частной задачей понимается конкретное задание, которые эксперт должен выполнить при производстве исследования, Общая задача относится к целому комплексу аналогичных исследований. Для судебной экспертизы электробытового оборудования к таким общим задачам можно отнести задачу диагностики и идентификации объектов исследования.
Диагностические задачи. Решение диагностических (не идентификационных) задач, в числе которых можно выделить:
Собственно диагностические - задачи, решая которые устанавливают состояние объектов, механизм функционирования объекта, и пр.
В процессе проведения СЭЭТ подобная диагностика является типовой задачей. При ее решении определяется состояние оборудования, наличие определенных повреждений, отклонений от нормальных режимов функционировании, и пр.
Причинно-динамические диагностические задачи - по существу, это развитие собственно диагностических задач с тем дополнением, что здесь не только необходимо установить свойства и механизм функционирования объектов, но и определить связи между следствием и причиной.
Реставрационные - задачи, при решении которых восстанавливается первоначальный вид объекта. К числу таких задач можно отнести восстановление, уничтоженного в результате неосторожности или умышленного действия оборудования.
Оценочные задачи - возникающие при необходимости оценить, например, соответствие закупленного оборудования техническому заданию. Следует учитывать, что определение размера материального ущерба (как потери качества и стоимости), установление стоимости оборудования и пр., относится к компетенции судебной товароведческой экспертизы. Оценка стоимости оборудования связана с необходимостью определения его технических характеристик. В рамках СЭЭТ решаются задачи по определению остаточной стоимости и стоимости восстановительного ремонта объектов СЭЭТ.
Идентификационные задачи. Связаны с установление тождества исследуемого объекта. При проведении СЭЭТ встречаются реже, чем решение диагностических задач, за исключением лишь одного подвида этой задачи, о которой будет сказано ниже. Практически выделяются различные виды идентификации, основные из которых следующие.
Индивидуальная идентификация - установление индивидуально-конкретного тождества единичного объекта.
При проведении СЭЭТ индивидуальная идентификация может встретиться лишь в определенных ситуациях. Например, при краже оборудования, которое имеет индивидуальный заводской номер, может решаться вопрос соответствует ли это оборудование той документации, которое осталась у пострадавшего. В последнее время такие задачи достаточно часто ставятся, например, при кражах мобильных телефонов.
Установление групповой принадлежности - установление принадлежности исследуемого объекта к группе объектов, обладающих определенными сходными признаками. Группа представляет собой множество (класс), который заранее определен и признан наукой или практикой.
Установление групповой принадлежности является типовой задачей для СЭЭТ. По существу, во всех случаях, когда эксперт определяет модель и марку исследуемого оборудования, он проводит определение групповой принадлежности объекта.
Идентификация целого по части - восстановление целостности исследуемого объекта по его разрозненным частям. При проведении СЭЭТ может встретиться лишь в порядке исключения. К данному виду исследования можно отнести задачу установление факта взаимной принадлежности элементов оборудования единому целому. Такая задача может решаться при проведении комплексного исследования совместно с экспертом по специальности 6.2 «Исследование следов орудий, инструментов, механизмов, транспортных средств (в РФЦСЭ при Минюсте России - лаборатория судебно-трасологической экспертизы).
Установление источника происхождения объекта - установление места, времени и других обстоятельств изготовления, комплектации, эксплуатации и хранения исследуемого объекта.
вания).

Объекты исследования в экспертизе электробытовой техники
К объектам СЭЭТ относятся: документы, образцы для сравнительного исследования, а также материалы дела. К числу объектов судебной экспертизы СЭЭТ могут также относиться: отображения предметов, механизмов и агрегатов, вещества, материалы и изделия, документы и полиграфическая продукция и др. Однако наиболее важной является именно классификация электробытовых устройств. При этом следует учитывать, что классификация носит общий и частный характер. Общая классификация может относиться ко всему перечню устройств, тогда как частная – будет формироваться с учетом определенной частной характеристики таких объектов.
Общая классификация объектов данного вида экспертного исследования:
Радиоэлектронные устройства:
Телевизионная техника,
аудиомагнитофоны,
видеомагнитофоны, видеокамеры;
CD и DVD проигрыватели и музыкальные центры,
Средства связи, телефония.
Телефонные аппараты проводной связи.
Радиотелефоны.
Радиотелефоны стандарта DECT.
Системы сотовой связи.
Средства доступа в Интернет (модем, ADSL, GPRS).

Техника по уходу за жильем и предметами личного потребления.
Электропылесосы.
Уборочные машины.
Посудомоечные машины.
Электромеханические машины для приготовления пищи (мясорубки, овощерезки и пр.).
Стиральные машины.

Электронагревательное оборудование.
Тепловые машины.
Компрессоры.
Хладагенты.
Холодильники, морозильники.
Кондиционеры.

Нагревательные приборы.
Утюги.
Сушильные машины.
Гладильные машины.
Электроплиты.
Микроволновые печи.

Водонагревательные приборы.
Чайники.
Кофеварки.
Кипятильники.
Электрические водонагреватели.
Газовые водонагреватели.

Отопительные системы индивидуальных домов.
Электрические отопительные системы.
Газовые отопительные системы.

Станки и электроинструменты бытового назначения.
Электродрели.
Электропилы.
Электроточила,
Рубанки.
Лобзики.
Шлифовальные машины для обработки дерева.

Следует учитывать, что здесь приведена наиболее общая классификация исследуемых устройств. Любая позиция такой классификации может быть при проведении экспертного исследования детализирована. Например, в разделе «Нагревательные приборы» такие устройства как микроволновые печи могут приводиться в дополнительной, более детальной классификации по видам, мощности, системам управления и пр.
Перечень вопросов
Методика исследования
Производство экспертизы электробытовой техники состоит из следующих этапов:
Методика измерения теплоэнергетических параметров холодильников
Теплоэнергетические параметры холодильных приборов следует проверять по методике, изложенной ниже (по ГОСТ 16317-87).
Теплоэнергетические испытания проводят на холодильных приборах, подготовленных для испытания по назначению. Перед началом испытаний допускается регулировка двери, если при транспортировании установка двери нарушилась или дверь была повреждена. После начала испытания осуществлять регулировку не допускается. Для проведения испытаний холодильный прибор следует установить в месте, обеспечивающем свободную циркуляцию воздуха. Испытания следует проводить в помещении, температура которого поддерживается на постоянном уровне. Температуру окружающего воздуха следует измерять (и по возможности регистрировать) средствами измерений, абсолютная погрешность которых не более ±0,5 °С
Проверку теплоэнергетических параметров следует проводить в установившемся режиме при закрытых дверях. С этой целью холодильный прибор должен предварительно проработать в течение соответствующего времени, но не менее 18 ч. Установившееся состояние считается достигнутым, если значения температур, измеренных в тех же фазах периодов регулирования, отличаются не более чем на 0,5 °С, а при непрерывном режиме работы - не более 0,5 °С за 2 ч. При изменении окружающей температуры или изменении установки терморегулятора следующее испытание можно начать только после достижения установившегося режима.
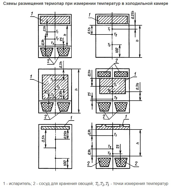
Температуру холодильной камеры бытового холодильника следует измерять в установившемся состоянии в трех точках, указанных на рисунке (Т1, Т2, Т3).

За температуру в отдельных точках следует считать среднее арифметическое значение максимальной и минимальной температур, определенное не менее чем за три полных периода регулирования. После установки термочувствительных элементов возможное нарушение герметичности двери следует устранить
Измерение коэффициента рабочего времени (КРВ) осуществляется одновременно с измерением температур. КРВ определяется как отношение длительности работы мотор-компрессора tРК в течение цикла регулирования к полной длительности цикла регулирования tЦР:

Холодильник в установившемся режиме должен работать циклично с коэффициентом рабочего времени (КРВ) не более 0,9.
Рекомендации по назначению
Особое внимание следует уделить упаковке объектов: объекты должны снабжаться сопроводительной биркой (этикеткой) с указанием наименования объекта и его серийного номера. Упаковку малогабаритных объектов рекомендуется производить в присутствии сторон в зале судебного заседания.
При формулировании вопросов следует использовать термин «дефект» как обязательный для применения в документации всех видов (в соответствии с ГОСТ 15467-79 «Управление качеством продукции. Основные понятия. Термины и определения»). Употребление иных терминов приводит к отказу от решения вопроса. Дефект - 1) каждое отдельное несоответствие продукции установленным требованиям (ГОСТ); 2) изменение первоначальных свойств изделия (поражение) под влиянием негативных факторов, возникающее в сфере производства, обращения, в процессе эксплуатации и проявляющееся в соответствующих признаках (словарь основных терминов судебно-товароведческой экспертизы).
Примечание (извлечение из ГОСТ 15467-79):
Явный дефект - Дефект, для выявления которого в нормативной документации, обязательной для данного вида контроля, предусмотрены соответствующие правила, методы и средства
Скрытый дефект - Дефект, для выявления которого в нормативной документации, обязательной для данного вида контроля, не предусмотрены соответствующие правила, методы и средства
Критический дефект - Дефект, при наличии которого использование продукции по назначению практически невозможно или недопустимо
Значительный дефект - Дефект, который, существенно влияет на использование продукции по назначению и (или) на ее долговечность; но не является критическим
Малозначительный дефект - Дефект, который существенно не влияет на использование продукции по назначению и ее долговечность
Устранимый дефект - Дефект, устранение которого технически возможно и экономически целесообразно
Неустранимый дефект - Дефект, устранение которого технически невозможно или экономически нецелесообразно
При формулировании вопросов следует исключить употребление правовых терминов. Употребление правовых терминов приводит к отказу от решения вопроса. Авторизованность ремонта определяется наличием соответствующего свидетельства у ремонтной организации, поэтому рекомендуется использовать следующую формулировку вопроса: «Имеются ли в представленном на экспертизу мобильном телефоне ХХХ, следы вскрытия и/или ремонта?». Определение существенности недостатков относится к юрисдикции судов, поскольку определение термина «существенный недостаток» дано в преамбуле Закона РФ от 07.02.1992 N 2300-1 «О защите прав потребителей». Рекомендуется раскрывать определение «существенного недостатка» через постановку следующих вопросов: «Являются ли имеющиеся дефекты критическими?» и «Являются ли имеющиеся дефекты неустранимыми?».
В случае постановки вопроса о соответствии нормативно-технической или сопроводительной документации рекомендуется в формулировке вопроса указать наименование такой документации. Отсутствие наименования документации может привести к выводам в форме НПВ.
Поскольку при производстве экспертизы необходимо исследование всех блоков (в т.ч. внутренних), в определении о назначении экспертизы необходимо сообщить о наличии согласия (несогласия) сторон на изменение свойств и/или частичную порчу объекта исследования вследствие демонтажа деталей (изменение настроек, разборка корпуса, выпайка элементов и проч.): «Стороны не возражают против изменения свойств и/или частичной порче объекта исследования в результате демонтажа его деталей» и дать соответствующую оценку: «Разрешить изменение свойств и/или частичную порчу объекта исследования вследствие демонтажа его деталей».
В случае если стороны ходатайствуют о проведении внешнего осмотра объекта исследования (либо о проведении экспертизы) в их присутствии, то в определении о назначении экспертизы рекомендуются отразить результат рассмотрения ходатайства с указанием лиц, имеющих право присутствовать при внешнем осмотре (проведении экспертизы). При этом следует учитывать, что ход и порядок исследования определяется экспертом.
В целях уменьшения срока производства экспертизы объект необходимо направлять в лабораторию одновременно с определением о назначении экспертизы. В случае доставки крупногабаритных объектов транспортными организациями при определении даты, не позднее которой заключение должно быть составлено и направлено экспертом в суд, следует учитывать режим работы таких организаций и срок доставки объекта исследования в лабораторию.
С определением о назначении экспертизы рекомендуется направлять копии искового заявления, возражения на исковое заявление и протокола судебного заседания (в данных процессуальных документах могут быть указаны обстоятельства, имеющие значение для исследования).